近年来,为了防止地球变暖,要求削减二氧化碳的排出量,从而期望开发可削减润 滑油的消耗量的技术等。此处,如果只是削减对轴承供给的润滑油量,则由于轴承内的润滑 油量不足,容易使轴承损伤。
文章源自solidworks教程网-http://gocae.com/3663.html
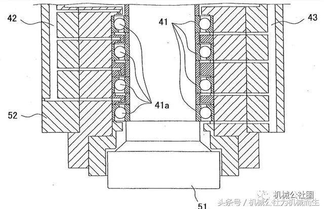
相反地,若在轴承内定期地供给润滑油量不会不足的恒定量的 润滑油,则润滑油有可能供给过多,不仅不能期望削减润滑油的消耗量,而且因润滑油供给 过多而在轴承中产生发热,容易给机床的加工精度带来恶劣影响。因此,就必须将轴承内的 润滑油量控制为既不过多又无不足的适量。但是,在那样的轴承装置中,由于从 形成为喷嘴状的供给通路 42 的前端喷射来向各轴承 41 内供给润滑油 ( 油气 ),所以真正供 给到轴承 41 内的润滑油量很难成为恒定,从而难以控制存在于轴承 41 内、特别是存在于滚 动体 41a 的滚动面上的润滑油量。文章源自solidworks教程网-http://gocae.com/3663.html
文章源自solidworks教程网-http://gocae.com/3663.html
精密机床主轴轴承和轴承润滑装置设计文章源自solidworks教程网-http://gocae.com/3663.html
文章源自solidworks教程网-http://gocae.com/3663.html
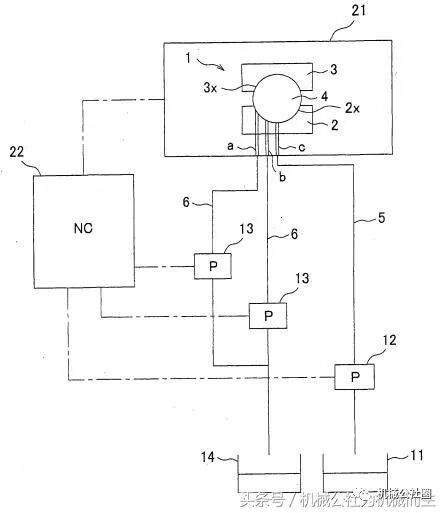
符号说明1…球轴承 2…外圈 3…内圈 2x、3x…轨道槽 4…滚珠 5…供给管 6…排出管 11…供给源 12…供给泵 13…排出泵 14…排出罐 21…旋转轴装置 22…NC 装置。文章源自solidworks教程网-http://gocae.com/3663.html
文章源自solidworks教程网-http://gocae.com/3663.html
图 1 是表示球轴承 1 的外圈 2 部的局部截面的说明图,图 2 是轴承装置的回路图。 并且,在图 2 中,为便于说明,将球轴承 1 或润滑油流路等夸张或局部省略来表示。 球轴承1由外圈2、内圈3、以及设置在外圈2与内圈3之间的多个滚珠(滚动体)4 构成,在外圈 2 的内周面和内圈 3 的外周面上设置有成为滚珠 4 的轨道的截面为圆弧状的 轨道槽 ( 滚动面及其附近 )2x、3x。此外,在外圈 2 上设置有从其外周面贯通到内周面 ( 特 别是轨道槽 2x) 的多条润滑油流路 a ~ f,各润滑油流路在与滚珠 4 的滚动方向正交的宽度 方向上分别在不同的位置开口。进而,此处,将润滑油流路 c 作为润滑供给通路 ( 以下,称 为供给通路 ),将其它润滑油流路作为润滑油排出通路 ( 以下,称为排出通路 )。 在供给通路 c 连结有供给管 5,该供给管 5 连接到润滑油供给源 11,当使供给泵 ( 供给装置 )12 驱动时,就能够将润滑油向轨道槽 2x 内 ( 外圈 2 的内周面上 ) 供给。另一 方面,在排出通路 a、b、d、e、f 上分别连接有排出管 6,当使排出泵 ( 排出装置 )13 驱动时, 排出管 6 内就成为负压,将轨道槽 2x 内的润滑油向排出罐 14 吸出 ( 排出 )。并且,在对设 置有球轴承 1 的旋转轴装置 21 的动作进行控制的 NC 装置 ( 控制装置和选择装置 )22 的控 制下,供给泵 12 和排出泵 13、13…可独立地进行动作。 此处,对通过如上所述的供给通路 c 供给润滑油、从排出通路 a ~ f( 除了润滑油 流路 c 之外 ) 的任何一个排出润滑油时的球轴承 1 内的润滑油的状态进行说明。 通过供给通路 c 供给的润滑油在滚珠 4 的滚动面的周围,在与一般流体同样的状 态下进行扩展。即,轨道槽 2x 内的润滑油量与图 1 中用 L 表示的润滑油宽度成比例,通过 控制轨道槽 2x 内的润滑油宽度,就可以达到对轨道槽 2x( 即球轴承 1) 内的润滑油量的控 制。因此,通过从开口位置在宽度方向上分别不同的排出通路 a ~ f( 除了 c 之外 ) 中选择 所使用的排出通路 ( 例如,在图 1 中,选择排出通路 b、e),来调整润滑油宽度 L,从而进行轨 道槽 2x 内的润滑油量的控制。文章源自solidworks教程网-http://gocae.com/3663.html
文章源自solidworks教程网-http://gocae.com/3663.html
以上,根据球轴承 1 和轴承装置,在球轴承 1 的外圈 2 中设置连通到 轨道槽 2x 内的多条润滑油流路 a ~ f,利用该润滑油流路,来进行向轨道槽 2x 内、即球轴承 1 内的润滑油的供给 / 排出。从而,与现有的结构比较,可以正确地控制向球轴承 1 内的润 滑油的供给量,以及来自球轴承 1 内的润滑油的排出量,进而,可以有效地防止因球轴承 1 内的润滑油的过量和不足引起的轴承的损伤、加工精度的降低等情况,除此之外,还可以实现润滑油的削减。此外,当利用润滑油流路 a ~ f 进行润滑油的供给 / 排出时,将润滑油流路 a ~ f 中的至少一条 ( 在上述实施方式中为润滑油流路 c) 作为供给通路,通过该供给通路 c 向轨 道槽 2x 内供给润滑油,另一方面,为了达到使得轨道槽 2x 内的润滑油量适量的那种润滑油 宽度,从其它润滑油流路中选择排出润滑油的排出通路 ( 在上述实施方式中,为润滑油流 路 b、e),从该排出通路 b、e 排出润滑油。即,由于使多条润滑油流路 a ~ f 的开口位置在外 圈 2 的宽度方向上不同,并且可以选择和变更用作排出通路的润滑油流路,因此,通过该排 出通路的选择和变更,可以容易地控制球轴承 1 内的润滑油量。从而,可以用简单的结构, 实现适量维持球轴承 1 内的润滑油量。文章源自solidworks教程网-http://gocae.com/3663.html
轴承和轴承装置所涉及的结构丝毫不受上述实施方式中所记载的 方式的限定,可根据需要,对轴承、润滑油的供给 / 排出 涉及的回路或控制等的结构进行适当变更。 例如,在上述实施方式中将轴承形成为球轴承,但只要是在外圈与内圈之间夹装 滚动体的轴承,则即使是滚动体为圆柱体的滚柱轴承等其它轴承,也没有任何问题。 此外,在 利用设置在外圈的润滑油流路向滚动面附近供 给润滑油,但关于对轴承的润滑油的供给,也可以如以往那样,构成为以使用喷嘴等喷射的 方式进行供给。即使这样采用通过喷嘴等进行供给的结构,也能像在上述实施方式中所述 的那样,通过调整润滑油宽度等,实现适量维持轴承内的润滑油量这一效果。 进而,将润滑油流路设置为从外圈的外周面贯通到内周面,但 如图 3 所示,也可以形成为从外圈 2’的侧面连通到内周面那样的润滑油流路,或者将该润 滑油流路与从外周面向内周面侧设置的润滑油流路连接起来,形成 T 字状的润滑油流路 等,只要在滚动面附近开口,则润滑油流路的形状等可以适当地进行变更。
此外,对用作排出通路的润滑油流路的切换,在上述实施方式中是通过使驱 动它们的排出泵不同来进行的,但也可以具有如下结构 :通过切换阀(选择装置)等来切换 与排出泵连结的排出管。关于设置在外圈的润滑油流路与供给管或排出管的连接,可以将供给 管或排出管直接插入到设置在外圈上的润滑油流路内进行连接,也可以在旋转轴装置的壳 体内设置第 2 润滑油流路,使供给管或排出管连接到该第 2 润滑油流路上。
加之,在轴承上设置振动传感器、温度传感器或声压传感器等,根据由该传感器检 测出的检测结果,也能够进行是否需要润滑油的供给或排出通路的选择等。
