拉力试验机
应用越来越广泛,液压夹紧功能能够方便 地装夹或松开试样,决定着试样拉伸的成败。目前,国内生产的拉伸试验机大都采用单缸液压夹紧,单缸夹紧结构中,夹紧油缸 中心与试样中心重合,但对于钢丝绳、输送带等较长的试样,需要增加钳口座的总长度,增 加成本较多,且夹紧油缸中心与试样中心重合,影响试样的夹紧和松开。因此,很有必要实 现一种装夹钢丝绳等较长柔性材料的液压夹紧装置。文章源自solidworks教程网-http://gocae.com/3382.html
文章源自solidworks教程网-http://gocae.com/3382.html
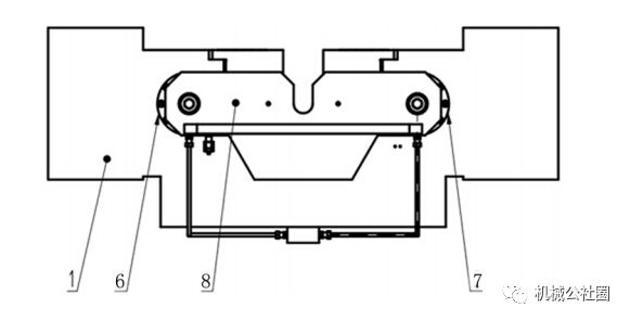
双缸同步的液压夹 紧装置,包括钳口座,钳口座上设有前后贯通的梯形空间,梯形空间的两底边上均设有导向 装置,导向装置上设有能在导向装置上滑动的夹紧试样的左钳口卡板和右钳口卡板,左、右 钳口卡板的外侧还设有推动左右钳口夹板夹紧或松开的左液压缸和右液压缸,左液压缸和 右液压缸的活塞连接至同一块夹紧推板,夹紧推板上设有两个滑块,左钳口卡板和右钳口 卡板上均设有滑槽,滑块位于滑槽内且可在滑槽内滑动。文章源自solidworks教程网-http://gocae.com/3382.html
文章源自solidworks教程网-http://gocae.com/3382.html
双缸同步的液压夹紧装置,所述左右钳口卡板、左右液压缸对称 分布在梯形空间中心轴线的两侧。夹紧力能够均匀地夹持到钳口卡板和试样上。文章源自solidworks教程网-http://gocae.com/3382.html
文章源自solidworks教程网-http://gocae.com/3382.html
双缸同步的液压夹紧装置,滑块为燕尾块,滑槽为燕尾 槽。双缸同步的液压夹紧装置,燕尾槽与燕尾块间隙配合。双缸同步的液压夹紧装置,导向装置为导轨。文章源自solidworks教程网-http://gocae.com/3382.html
文章源自solidworks教程网-http://gocae.com/3382.html
效果文章源自solidworks教程网-http://gocae.com/3382.html
在材料拉伸试验中,本装置给钢丝绳、输送带等较长试样 的夹紧和松开提供了一种很好的解决方案,避免了单缸夹持小,夹持不可靠的缺陷。本装置 结构简单、设计科学、加工方便,可有效确保拉伸材料液压夹紧可靠性,准确完成拉伸试验, 尤其适用于较长试样的液压夹持,具有显著的经济效益以及较好的实际应用和推广价值。文章源自solidworks教程网-http://gocae.com/3382.html
