注塑机弹性拉杆螺母, 克服了现有拉杆螺母技术中存在的不足,提供一种避免拉杆螺纹因螺 母结构限制而引起的刚度突变问题导致的拉杆螺纹局部应力集中,使得拉杆螺纹在螺母与 头板接触面后部的 1 ~ 2 牙螺纹部位底部应力尽可能的向其后的螺纹进行有效分散,使拉杆螺纹上的应力分布更加均匀,应力集中问题进一步得到改善。
1. 目前行业内是如何改进受力的?文章源自solidworks教程网-http://gocae.com/2776.html
的注塑机拉杆设计的主要采取加大拉杆直径、加大头板厚度进而加强 其强度,较为先进的做法是采用悬置螺母的结构来分散牙根处的应力值来减小应力集中的 办法来实现。结果往往是虽有改善但效果并不十分明显。主要原因是其虽已意识到导致拉 杆断裂的主要因素,而采取了一些措施,即使采用柔性的悬置螺母,可以缓和部分应力集中 过大的问题,但由于螺母结构尺寸的限制,螺母与头板接触面与锥形柔性部分之间的过渡 不可能采用希望的很大的圆角过渡,这在结构上就产生了刚度突变的问题导致拉杆螺纹在 螺母与头板接触面后部的1~2牙螺纹部位底部应力集中情况仍然很严重 ;另外加 大拉杆 直径和加厚增强头板的方法虽也能起到一定的作用,但拉杆螺纹接触处的应力集中并未有 效的较低到较小的水平,还会大大增加机器的成本。
文章源自solidworks教程网-http://gocae.com/2776.html
2.为什么要对拉杆螺母进行改进?文章源自solidworks教程网-http://gocae.com/2776.html
注塑机是一种塑料注射成型的机器设备,在其合模的过程中,拉杆由于受到头板 经拉杆螺母传递的力而产生弹性变形。工作周期内,头板受力变形经过拉杆螺母传递到拉杆,形成交变循环复合应力。拉杆在此复合交变应力的作用下,螺纹接触处由于应力集中形成螺纹牙根疲劳微裂纹,进而裂纹不断扩展形成拉杆螺纹牙根处破坏,直至拉杆整根断裂, 从而造成机器无法生产。文章源自solidworks教程网-http://gocae.com/2776.html
文章源自solidworks教程网-http://gocae.com/2776.html
文章源自solidworks教程网-http://gocae.com/2776.html
文章源自solidworks教程网-http://gocae.com/2776.html
文章源自solidworks教程网-http://gocae.com/2776.html
文章源自solidworks教程网-http://gocae.com/2776.html
3. 拉杆与模板的装配方式有哪些?
图(a)所示连接式是一种常用的连接方式。模板与拉杆的安装定位是通过拉杆两端的端面固定,然后由螺母固定位置。这种安装模板形式结构简单,连接尺寸精确可靠,加工制造和安装都很方便。文章源自solidworks教程网-http://gocae.com/2776.html
图(b)所示连接方式,其拉杆的右端与模板的连接方式与图(a)相同。这种拉杆与模板的连接,可以通过拉杆上的齿轮螺纹套的转动,带动固定在螺纹套的模板左右移动,达到两模板间距离大小的调节。这种装配方法要求拉杆上螺纹和齿轮套上的螺纹加工精度要高,以保证4根拉杆上螺纹转动运行的同步性,保证模板调距移动时工作面的平行精度。此种结构多用在肘杆式合模装置中。
1—调距齿轮;2—模板;3—推力轴承;4—挡板;5—拉杆;6—固定螺母
包括螺母本体和锥状体,在螺母本体和锥状体的内 孔设有螺纹孔,所述螺母本体的贴合面与锥状体 之间的交合处有连续刚度设计的分散应力卸荷 槽,分散应力卸荷槽半径为 R=3 ~ 8mm。螺母外表面的分散应力槽将应力向远离贴合 面的后部分散,在远离贴合面的前几个牙受力减 小,牙根应力大大降低,内螺纹的受力趋向均匀, 从而使得拉杆螺纹上受到的应力分布更加均布, 应力集中大大降低,疲劳裂纹产生问题得到缓解, 拉杆的使用寿命大大提高。
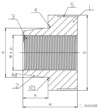
注塑机弹性拉杆螺母结构
包括螺母本体(1)和锥状体(2),在螺母本体(1)和锥状 体(2)的内孔设有螺纹孔(3),
所述螺母本体(1)的贴合面与锥状体(2)之间的 交合处有连续刚度设计的分散应力卸荷槽(4),分散应力卸荷槽(4)半径为 R=3 ~ 8mm。
所述螺纹孔(3)为圆锥体状中心 螺纹孔和圆柱体状中心螺纹孔的组合体。
所述圆锥状体外表面的倾斜角 度为 8°。
所述螺纹孔(3)的螺距为 p=3 ~ 8mm。
所述螺母本体(1)的贴合面至紧 固直槽(5)尾端的长度取 30 ~ 130mm。
所述螺母本体(1)的外端面上设 有紧固用的多条螺母紧固直槽(5)。
工作原理
拉杆螺母与注塑机上的拉杆配合使用,由于圆 锥状体 2 内表面向螺母本体 1 的外表面倾斜且结合部位采用连续刚度设计(内凹圆角 R3), 避免了螺母结构的刚 度突变和对传递到拉杆螺纹上的载荷进行了分散的结构设计,使得 拉杆螺母贴合面的载荷传递到圆锥状体 2 中心螺孔 3 上时,通过结合处的分散应力槽将应 力向远离贴合面的后部分散,在远离贴合面的前几个牙受力减小,牙根应力大大降低,内螺 纹的受力趋向均匀,从而使得拉杆螺纹上受到的应力分布更加均布,应力集中大大降低,疲 劳裂纹产生问题得到缓解,拉杆的使用寿命大大提高。






